铂莱国际

SD8302

Operating Voltage

2.4~3.6V

2.4~3.6V

Operating Current

1.1mA

1.1mA

ADC ENOB

19.5bits@8sps
Gain = 100

19.5bits@8sps
Gain = 100

Peripherals

RTC、UART

RTC、UART

Package

SSOP24

SSOP24
IC Introduction

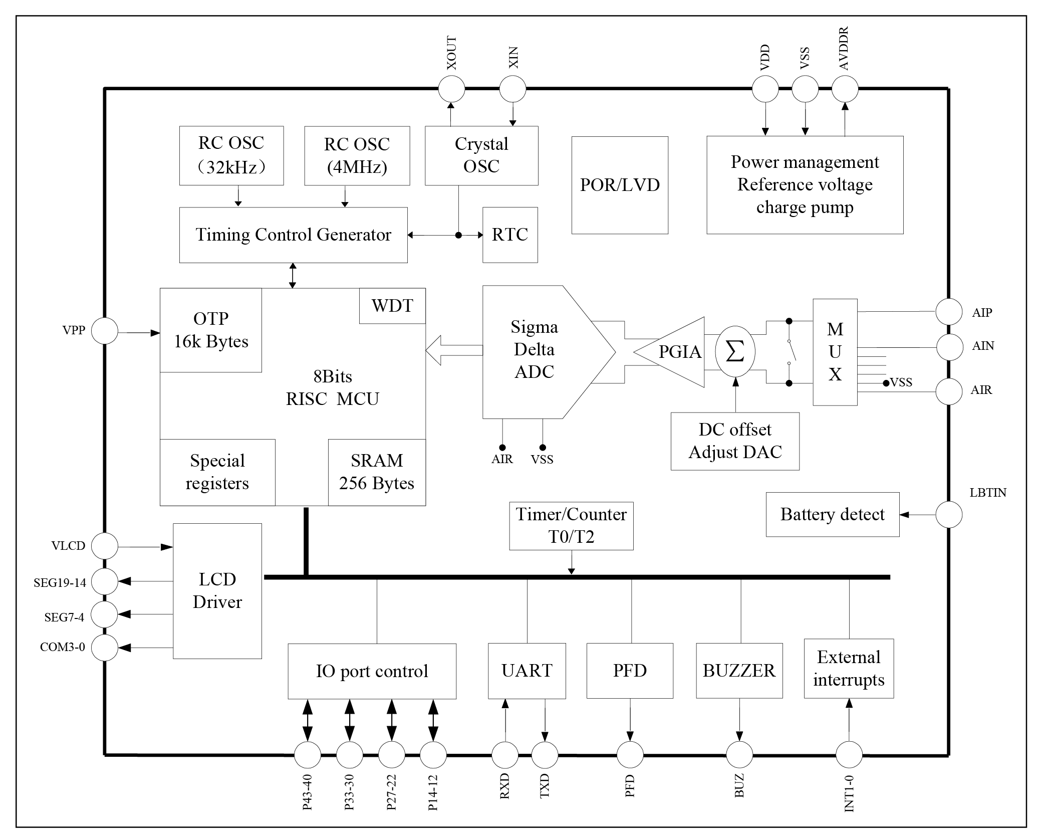
        SD8302 is a SoC product with 20 bits ADC and 16k Bytes OTP memory. The built-in OTP has low programming voltage at 2.4~3.6V. It can be used in place of external EEPROM. Only 5 capacitors are needed in the periphery for body weight and other domestic weight scale applications.
        The IC was designed with ultra low power technology. It operates at 2MHz clock rate that originates from an 4MHz internal RC oscillator. At 3V operating voltage, the typical operating current is only 1.1mA (excluding sensor power consumption), which is ideal for battery-powered applications.
        Three working modes are provided so users can select the optimum choice between speed and power. They are normal mode, standby mode, and sleep mode.

IC Features
  • High precision ADC, ENOB=18.5bits@8sps, 1differential or 3 single-ended inputs

  • Low noise, high input impedance preamplifier with selectable gain: 1, 12.5, 50, 100, or 200

  • 8 bits RISC ultra low power MCU, 49 instructions and 6 stack levels. The MCU current consumption is 600uA typically at 3V and 2MHz operating clock rate, 1.8uA at standby and 32kHz clock, and less than 1uA at sleep

  • 16k Bytes OTP program memory storage, 256 Bytes SRAM data storage

  • Low OTP programming voltage at 2.4~3.6V, can replace external EEPROM

  • Built-in high frequency 4MHz and low frequency 32kHz RC oscillation, no external clock needed

  • Built-in RTC module, together with external 32.768kHz crystal to show seconds, minutes and hours

  • 8-bit interrupt timer, support PFD output

  • Built-in temperature sensor, supports single point calibration

  • Built-in 1 channel UART communication port

  • 10SEG X 4COM LCD drive, programmable boost module to maintain luminance at low supply voltage

  • Selectable voltage source for external, transducer excitation: 2.4V/2.6V/2.9V/3.3V

  • Flexible battery voltage detection: 2.4~3.0V

  • All logic inputs are Schmitt triggered with optional pull up resistor

  • Watch Dog Timer

  • Low voltage detection and power on reset circuit

  • Operating voltage range: 2.4~3.6V

  • Operating temperature range: -40~85˚C

IC Block Diagram
Application area

Portable Scale

Tire Pressure Scale

Related Products Recommendation

Product Series

Sample Requests
and Purchase

Product
Directory

Please fill in a real and valid email address!

SBOBET利记 旋乐吧spin8 amjs澳金沙门